Quiz 7.6

DIRECTIONS: Read each question carefully. Then click on the dot next to the answer that most closely fits the question. Try to answer all questions on this quiz and when you are done, click on the grade me button at the bottom.


Coverage: Section 7.8

  1. What is the "heart" of a hardware implementation of a DFA?
the encoder
the decoder
the state register
the AND gates that tie the conditions to the current state wires

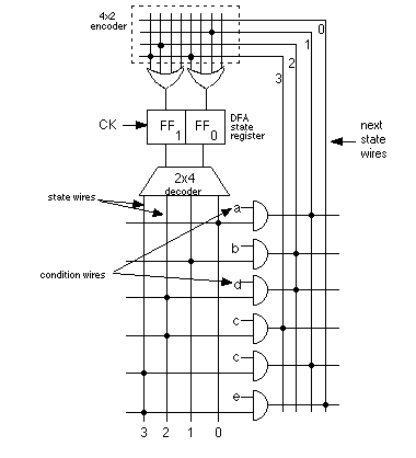
  1. What would the condition wires, shown in the diagram below as a, b, c, and d, correspond to in a real computer control unit, like that of the CSC-1?
    GIFs/hardware-dfa.gif
the C, N, Z, and V wires coming out of the ALU
the LD, CLR and INCR wires that control the PC
the MA and WR wires touching main memory

  1. How many AND gates are there in a DFA that combine the current state and condition wires to form the next state outputs?
approximately the same number as states
2 to the power of the number of bits in the state register
the logarithm of the number of states
it depends upon the DFA that is being implemented; it can vary

  1. The S0 and S1 wires tell the shifter which direction to shift. Which condition wires will go into setting them up in the hardware DFA?
the SHR and SHL wires
the MAR-LD wires
we can't tell; not enough information
the C, N, Z and V wires

  1. If there were 20 states in the DFA, how large would the DFA state register have to be?
20
5
4
very very large

  1. Which of the DFAs below does the following hardware DFA implement?
    GIFs/hardware-dfa2.gif
GIFs/dfa1.gif
GIFs/dfa2.gif
GIFs/dfa3.gif
GIFs/dfa4.gif